聯系人:王經理
銷售電話:15610293837
銷售QQ:2962700085
公司地址:山東省濰坊高新區新城街道玉清社區光電路155號濰坊高新區光電產業加速器(一期)1號樓301

PRODUCT CENTER
聯系人:王經理
銷售電話:15610293837
銷售QQ:2962700085
公司地址:山東省濰坊高新區新城街道玉清社區光電路155號濰坊高新區光電產業加速器(一期)1號樓301
路面狀況傳感器又稱路面狀況檢測器,路面狀況監測傳感器,路面狀況傳感器能夠提供路面狀況信息,能準確檢測出道路表面結冰、積雪和積水的存在狀態和厚度,有助于降低交通事故的風險,保障安全出行。
一、路面狀況傳感器產品介紹
路面狀況傳感器又稱路面狀況檢測器,路面狀況監測傳感器,路面狀況傳感器能夠提供路面狀況信息,能準確檢測出道路表面結冰、積雪和積水的存在狀態和厚度,有助于降低交通事故的風險,保障安全出行。
WX-LM1系列非接觸式路面狀態檢測器,它采用遙感技術,避免了對道路的破壞,從而不會因為安裝道路氣象站引起的對交通的干擾。多光譜測量技術使得能準確檢測道出道路表面結冰、積雪和積水的存在狀態和厚度,同時還能實時監測影響交通安全的大霧、雨和雪等天氣現象。
二、路面狀況傳感器功能
l檢測路面積水、積雪、結冰狀態
l遠距離遙感檢測路面、橋面狀況
l非埋入式安裝快捷簡便
l車流量和事故多發區域
l雨雪多發區域
l維護成本低
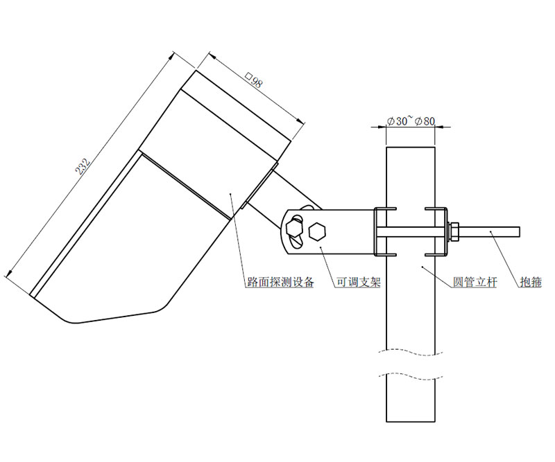
三、路面狀況傳感器產品尺寸圖

四、路面狀況傳感器主要指標
型號 | WX-LM3(停售) | WX-LM1 |
檢測距離及檢測區域直徑 | 2-8米;23cm | |
對水平線的安裝角度 | 30-80度 | |
電源及功耗 | DC12-24V;0.6W | |
工作溫度和濕度 | 溫度:-40oC 至 +60oC;濕度:0 至 95% | |
積水厚度 | - | 0-10mm |
覆冰厚度 | - | 0-2mm |
積雪厚度 | - | 0-2mm |
濕滑程度 | - | 0.01(濕滑)-0.82(摩擦強) |
路面狀態報告 | 干燥、潮、 濕、 雪、 冰、 冰水混合 | |
公路天氣現象(選配) | 路面溫度:-40oC 至 +60oC | |
天氣現象: 雨;雪;大霧 | ||
路面材料 | 混凝土、瀝青路面 | |
通訊 | RS485、RS232 | |
WX-MQ2苗情監測系統的核心優勢在于全方位的自動監測能力,并非單一聚焦作物本身。它巧妙結合了氣象傳感器、墑情傳感器以及蟲情預報燈等設備,將苗情與田間的氣候條件、土壤水分狀況、病蟲害情況緊密關聯,形成完整的監測體系,讓管理人員看到的不僅是作物長勢,更是影響作物生長的綜合環境因素?!ぁぁ?/p>
面對復雜的道路環境,WX-N50道路能見度傳感器具備出色的適應能力,能在多種天氣條件下穩定運行。無論是高溫暴曬的夏季、低溫嚴寒的冬季,還是陰雨連綿的梅雨季節,設備都不會出現頻繁故障;即便路面存在揚塵、尾氣污染等情況,也不會對其測量精度造成明顯影響,始終保持穩定的工作狀態,為數據采集的連續性提供保障?!ぁぁ?/p>
WX-GTS4四層管式土壤墑情監測儀是一款能夠同時監測四層土壤溫濕度等參數的先進設備。它基于介電常數原理研發,通過測量土壤的介電常數來建立數學模型,進而準確測量土壤的體積含水率。這種技術不受土壤中鹽離子的影響,數據精準可靠,為農業灌溉和土壤管理提供了科學依據。該監測儀的最大亮點在于其分層監測功能。儀器可以監測四層,能夠分別監測不同深度的土壤墑情。···
WX-XQ4學校戶外氣象站通常具備多種功能,如實時監測空氣溫度、濕度、氣壓、風速、風向等氣象參數,以及記錄歷史氣象數據、生成氣象報表等。這些功能使得學校能夠全面了解校園氣象環境的變化情況,為校園管理提供科學依據。氣象站的特點在于其實時性、準確性和可靠性。實時監測功能使得學校能夠隨時掌握校園氣象環境的變化情況,及時采取應對措施。準確性和可靠性則保證了氣象數據的真實性和可用性,為學校的決策提供了有力支持。···
傳統的流速流量測量方法往往需要龐大的設備和復雜的操作,而LS300-B便攜式流速儀則以其小巧輕便、易于攜帶的特點,成為野外測量的得力助手。這款儀器采用先進的測量技術,能夠準確、快速地獲取明渠的流速流量數據,為相關領域的決策提供有力支持。相較于傳統測量方法,便攜式流速儀的操作更加簡單便捷。用戶只需按照說明書進行簡單設置,即可輕松完成測量任務。···
WX-GSSQ05土壤管式剖面水分儀是一款萬象環境生產的專門用于監測土壤墑情的系統,這款設備的傳感器監測的層數支持定制,最低可以測三層,最高支持十層土壤溫濕度,大家都知道,合理施肥可以提高小麥的抵抗力,減少病蟲害的發生。尤其是在春季,可以利用土壤墑情監測站監測土壤墑情,根據監測結果,適當補充氮磷鉀等微量元素,避免過量施肥,影響小麥生長?!ぁぁ?/p>