聯系人:王經理
銷售電話:15610293837
銷售QQ:2962700085
公司地址:山東省濰坊高新區新城街道玉清社區光電路155號濰坊高新區光電產業加速器(一期)1號樓301

PRODUCT CENTER
聯系人:王經理
銷售電話:15610293837
銷售QQ:2962700085
公司地址:山東省濰坊高新區新城街道玉清社區光電路155號濰坊高新區光電產業加速器(一期)1號樓301
森林氣象站又稱森林防火氣象站,森林火險監測站,森林氣象站用于監測和預測發生森林火災的氣象條件,預防森林大火的發生,在發生大火時及時采取措施來防止和控制林火災的蔓延,使財產損失降到低點。
一、森林氣象站產品簡介
森林氣象站又稱森林防火氣象站,森林火險監測站,森林氣象站用于監測和預測發生森林火災的氣象條件,預防森林大火的發生,在發生大火時及時采取措施來防止和控制林火災的蔓延,使財產損失降到低點。
森林火災是森林生態系統的大敵,它能在很短時間內,燒毀大面積的森林和大量的林副產品,破壞林分結構和森林環境,破壞自然界生態平衡,造成氣候失調,水土流失,河流淤塞,洪水泛濫或水源枯竭。通過監測容易發生森林火災區域的風速風向、空氣的溫度、相對濕度、太陽輻射等氣象因子,可以對預防森林大火的發生,在發生大火時也可以指導工作人員進行快速合理的滅火工作,使財產損失降到低點。
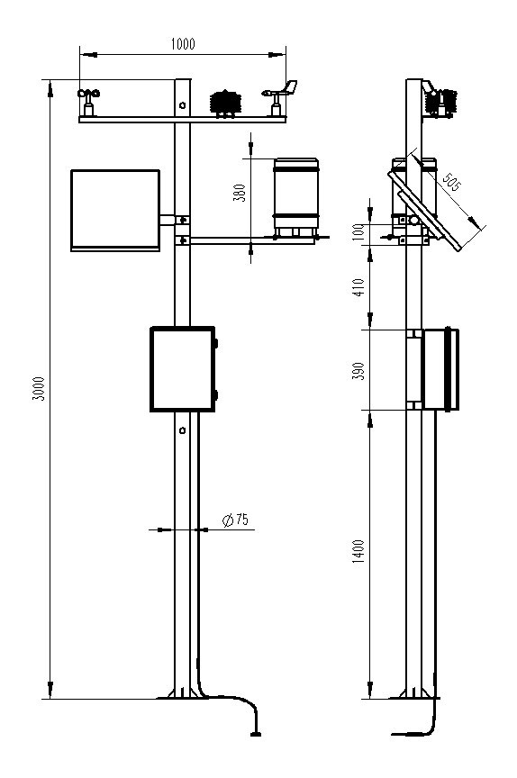
該設備由氣象傳感器,采集器,太陽能供電系統,立桿支架,云平臺五部分組成。免調試,可快速布置,廣泛運用于氣象、農業、林業、環保、海洋、機場、港口、科學考察、校園教育等領域。
二、產品特點
1、低功耗采集器:靜態功耗小于50uA
2、標配GPRS聯網、支持擴展藍牙、有線傳輸
3、7寸安卓觸屏,版本:4.4.2、四核Cortex?-A7,512M/4G
4、支持modbus485傳感器擴展
5、太陽能充電管理MPPT自動功率點跟蹤
6、三米碳鋼支架,兩節法蘭盤對接
7、配備聲光報警器
8、人員靠近設備可聲光喊話報警,可短信/電話云通知
9、ABS材質防護箱,耐腐蝕、抗氧化,防水等級IP66
三、技術參數
名 稱 | 測量范圍 | 分 辨 率 | 準 確 度 |
環境溫度 | -50~+100℃ | 0.1℃ | ±0.5℃ |
相對濕度 | 0~100%RH | 0.1% | ±3% RH |
風 向 | 0~360°(16方向) | 1° | ±5° |
風 速 | 0~60m/s | 0.1m/s | ±(0.3+0.03V)m/s |
雨 量 | ≦4mm/min | 0.2mm | ±0.4mm |
光照強度 | 0-200000Lux | 1Lux | ±2% |
大氣壓力 | 10~1100hPa | 0.1hPa | ±0.3hPa |
土壤溫度 | -50~+80℃ | 0.1℃ | ±0.5℃ |
土壤濕度 | 0~100% | 0.1% | ±3%RH |
二氧化碳 | 0-5000PPM | 1PPM | ±40PPM±讀數的3% |
可以根據用戶需求拓展配置:日照時數、蒸發量傳感器、露點溫度傳感器、紫外線輻射傳感器、光合輻射傳感器等各種氣象要素傳感器。 | |||
供電系統 | 市電/太陽能/多電源供電系統可選 | ||
通訊系統 | RS485、USB、無線GPRS、以太網等通訊方式 | ||
專用支架 | 安裝防護箱、傳感器、供電電源、通訊設備等 | ||
四、產品尺寸圖
五、產品結構圖
六、上位機軟件介紹
1、PC單機版數據接收、存儲、查看、分析軟件
2、支持串口數據接收、處理、展示
3、支持json字符串、modbus485等通信方式
4、可自設置存儲時間,modbus485采集模式下可自設置采集時間
5、支持自助增加、刪除、修改監測參數的協議、名稱、圖標等
6、支持數據后處理功能
7、支持外置運行javascript腳本
七、安卓APP介紹
1、安卓單機版數據接收、存儲、查看、分析軟件
2、支持藍牙數據接收
3、手機休眠后軟件后臺接收、處理
4、json數據自動添加設備,modbus設備支持掃碼添加設備
5、支持歷史數據查看、分析、導出表格,支持曲線展示、單數據點查看。
6、支持數據后處理功能
7、支持外置運行javascript腳本
八、云平臺介紹
1、CS架構軟件平臺,支持手機、PC瀏覽器直接觀測、無需額外安裝軟件。
2、支持多帳號、多設備登錄
3、支持實時數據展示與歷史數據展示儀表板
4、云服務器、云數據存儲,穩定可靠,易于擴展,負載均衡。
5、支持短信報警及閾值設置
6、支持地圖顯示、查看設備信息。
7、支持數據曲線分析
8、支持數據導出表格形式
9、支持數據轉發,HJ-212協議,TCP轉發,http協議等。
10、支持數據后處理功能
11、支持外置運行javascript腳本
首先,WX-SQ5A超聲波手持式氣象站最大的亮點莫過于其無與倫比的便攜性。相比動輒占地數十平米、安裝復雜的大型氣象站,手持式設備輕松可握,仿佛智能手機般隨身攜帶。無論是科研人員穿梭于山川湖海,還是戶外運動愛好者追求極限挑戰,只需一鍵開機,即可立即獲取當前環境的溫度、濕度、風速、風向等關鍵氣象數據,讓天氣預報不再受限于固定站點,真正實現“人在哪里,天氣就掌握在哪里”。···
WX-YJ2壓電型雨量監測站的核心在于其獨特的測量原理。該設備利用壓電效應,即當雨滴落在壓電傳感器上時,會產生壓力變化,這種壓力變化導致壓電晶體產生電荷。這些電荷隨后被轉化為降雨數據,包括降雨量、降水強度及降水時間等關鍵參數。這種測量方式無需機械運動部件,從根本上避免了機械磨損和堵塞等問題,確保了測量的準確性和穩定性。···
WX-SFA06漂浮式水質自動監測站的工作原理十分精妙。它利用浮體的浮力穩定地漂浮在水面上,使得監測儀器能夠與水直接接觸,實時采集水樣并進行分析。這些監測儀器包括pH計、溶解氧儀、濁度儀、氨氮分析儀等多種專業設備,它們就像敏銳的“眼睛”,能夠準確測量水體中的各種參數。···
WX-XQ4校園氣象站的建設旨在通過實地觀測和數據分析,增強學生對氣象知識的興趣和理解,培養他們的科學素養和實踐能力。同時,氣象站也將成為校園內一道亮麗的風景線,提升校園文化氛圍。校園氣象站應配備基本的觀測儀器,如風向風速儀、溫濕度計、氣壓計、雨量計等。這些儀器應具有高精度、易操作、耐用的特點,確保觀測數據的準確性和可靠性。···
WX-PQX10小型便攜式自動氣象站的設計非常精巧,體積小巧,重量輕便,可以輕松放入背包或手提箱中,方便用戶隨身攜帶。無論是戶外探險、野外科考,還是城市環境監測、農業氣象服務,只要需要氣象數據的地方,都能看到它的身影。它就像一個隨行的伙伴,時刻準備著為你提供準確、實時的氣象信息。···
如果太陽能電站能夠像天氣預報一樣,提前預知光照強度、云層變化乃至風速風向,那將是一幅怎樣的景象?WX-BGF11光伏太陽能環境監測系統正是這樣一位“未來預言家”。它通過高精度傳感器網絡,24小時不間斷地收集并分析環境數據,包括但不限于太陽輻射量、溫度、濕度、風速等關鍵指標。這些數據如同寶貴的導航圖,幫助電站管理者精準預測發電潛力,優化光伏板布局,確保每一縷陽光都能被最大化利用。···