聯系人:王經理
銷售電話:15610293837
銷售QQ:2962700085
公司地址:山東省濰坊高新區新城街道玉清社區光電路155號濰坊高新區光電產業加速器(一期)1號樓301

PRODUCT CENTER
聯系人:王經理
銷售電話:15610293837
銷售QQ:2962700085
公司地址:山東省濰坊高新區新城街道玉清社區光電路155號濰坊高新區光電產業加速器(一期)1號樓301
五要素自動氣象站又稱五要素氣象站,小型氣象站 ,五要素自動氣象站是一種自動測量氣象數據的氣象設備,可以測量五種氣象數據,常用于氣象預報,農業生產,建筑工程,飛行安全等領域。
一、五要素自動氣象站產品簡介
五要素自動氣象站又稱五要素氣象站,小型氣象站 ,五要素自動氣象站是一種自動測量氣象數據的氣象設備,可以測量五種氣象數據,常用于氣象預報,農業生產,建筑工程,飛行安全等領域。
WX-QC5小型自動氣象站省級校準證書)是一款高度集成、低功耗、可快速安裝、便于野外監測使用的高精度氣象觀測設備。
該設備由氣象傳感器,采集器,太陽能供電系統,立桿支架,云平臺五部分組成。免調試,可快速布置,廣泛運用于氣象、農業、林業、環保、海洋、機場、港口、科學考察、校園教育等領域。
二、產品特點
1、低功耗采集器:靜態功耗小于50uA
2、標配GPRS聯網、支持擴展藍牙、有線傳輸
3、7寸安卓觸屏,版本:4.4.2、四核Cortex?-A7,512M/4G
4、支持modbus485傳感器擴展
5、太陽能充電管理MPPT自動功率點跟蹤
6、三米碳鋼支架,兩節法蘭盤對接
7、短信報警,超限后向指定的手機上發送短信
8、不銹鋼材質防護箱,耐腐蝕、抗氧化,防水等級IP66
三、技術參數
1)采集器供電接口:GX-12-3P插頭,輸入電壓5V,帶RS232輸出Json數據格式,采集器供電:DC5V±0.5V峰值電流1A,
2)傳感器modbus、485接口:GX-12-4P插頭,輸出供電電壓12V/1A,設備配置接口:GX-12-4P插頭,輸入電壓5V
3)太陽能供電、配置鉛酸電池,可選配30W 20AH/50W 40AH/100W 100AH.充電控制器:150W,MPPT自動功率點跟蹤,效率提高20%
4)數據上傳間隔:30s-65535s可調
5)7寸安卓觸屏,屏幕尺寸:1024*600 RGB LCD
6)部分傳感器參數
名 稱 | 測量范圍 | 分 辨 率 | 準 確 度 |
環境溫度 | -40~+60℃ | 0.1℃ | ±0.3℃ |
相對濕度 | 0~100%RH | 0.1% | ±2% |
光照強度 | 0-200000Lux | 1Lux | ±2% |
大氣壓力 | 300~1100KPa | 0.1KPa | ±0.3hPa |
露點溫度 | -20~+50℃ | 0.1℃ | ±0.5℃ |
土壤溫度 | -50~+80℃ | 0.1℃ | ≤±0.2℃ |
土壤濕度 | 0~100% | 0.1% | ±2% |
土壤鹽分 | 0-20ms | ±0.1ms | ±2% |
土壤PH | 0-14 | 0.1 | ±0.2% |
風 向 | 0~360°(16方向) | 1/16 | <3°(>1.0m/s) |
風 速 | 0~70m/s | 0.1m/s | ±(0.3+0.03V)m/s |
雨 量 | ≦4mm/min | 0.01mm | ±0.2mm |
紫外輻射 | 0~70W/㎡ | 1W/㎡ | ±2% W/㎡ |
日照時數 | 0~24h | 0.1 h | ±2%h |
總輻射 | 0-2000W/m2 | 0.1W/m2 | 光譜范圍:300-3000nm |
光合有效輻射 | 400~700nm | 靈 敏 度:10~50μv/μmol·m-2·s-1 | |
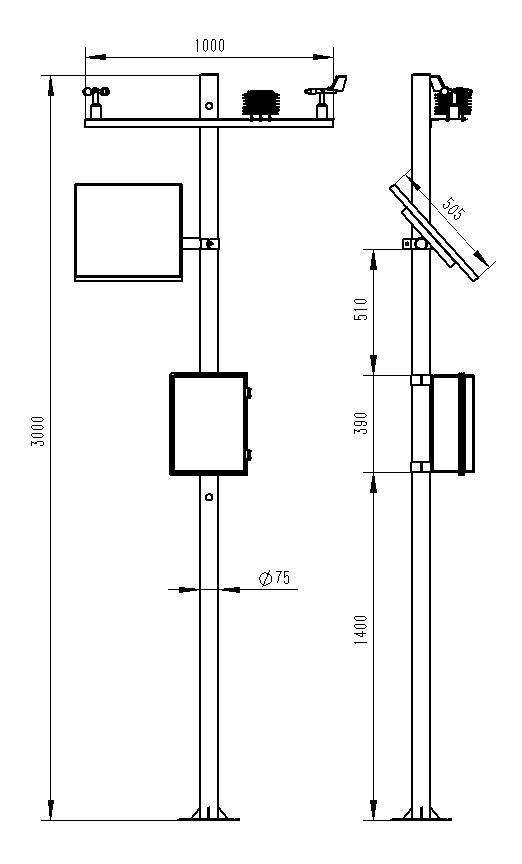
四、產品尺寸圖

五、產品結構圖

六、上位機軟件介紹
1、PC單機版數據接收、存儲、查看、分析軟件
2、支持串口數據接收、處理、展示
3、支持json字符串、modbus485等通信方式
4、可自設置存儲時間,modbus485采集模式下可自設置采集時間
5、支持自助增加、刪除、修改監測參數的協議、名稱、圖標等
6、支持數據后處理功能
7、支持外置運行javascript腳本
七、安卓APP介紹
1、安卓單機版數據接收、存儲、查看、分析軟件
2、支持藍牙數據接收
3、手機休眠后軟件后臺接收、處理
4、json數據自動添加設備,modbus設備支持掃碼添加設備
5、支持歷史數據查看、分析、導出表格,支持曲線展示、單數據點查看。
6、支持數據后處理功能
7、支持外置運行javascript腳本
八、云平臺介紹
1、CS架構軟件平臺,支持手機、PC瀏覽器直接觀測、無需額外安裝軟件。
2、支持多帳號、多設備登錄
3、支持實時數據展示與歷史數據展示儀表板
4、云服務器、云數據存儲,穩定可靠,易于擴展,負載均衡。
5、支持短信報警及閾值設置
6、支持地圖顯示、查看設備信息。
7、支持數據曲線分析
8、支持數據導出表格形式
9、支持數據轉發,HJ-212協議,TCP轉發,http協議等。
10、支持數據后處理功能
11、支持外置運行javascript腳本
該設備的核心特點在于其一站式掌握水質變化的能力,傳統的水質監測方式往往需要人工取樣、實驗室分析,不僅耗時耗力,而且難以做到實時監測。而WX-LSZ06水庫立桿水質監測設備則通過智能化的監測手段,實現了對水質參數的連續、自動監測,并將監測數據實時傳輸至云端平臺,用戶可以通過手機APP或電腦端隨時查看水質狀況,真正做到了水質變化的一站式掌握。···
GNSS,即全球導航衛星系統,它通過接收來自多顆衛星的信號,實現對目標位置的精確定位。WX-WY1 GNSS邊坡監測系統正是利用了這一技術原理,通過在邊坡上設置GNSS接收設備,實時接收衛星信號并進行處理,從而監測邊坡的位移變化。這一系統不僅具有高精度,還能夠實現全天候、全天時的監測,不受天氣和光照條件的影響。···
當河水在河道中歡快流淌,或是因暴雨而洶涌澎湃時,這位WX-SW1水文水位監測設備“守護精靈”便開始了它的工作。它無需與河水直接接觸,而是借助先進的科技手段,如雷達波,在安全距離之外,就能敏銳地捕捉到河道水位的高低起伏。這種非接觸的監測方式,既避免了設備因長期浸泡在水中而受損,又能保證監測的準確性和連續性。···
WX-FBQ2化工防爆氣象站是為化工企業量身定制的一種特殊氣象監測設備。它不僅集成了傳統氣象站監測溫度、濕度、風速、風向等基本參數的功能,更在防爆性能上做了全面升級,確保在極端或特殊工況下仍能穩定運行,為化工生產提供精準、及時的氣象數據支持。化工防爆氣象站采用防爆型外殼,材質多為鋁合金或不銹鋼,具有優異的耐腐蝕性和防爆性能。···
WX-FD1S太陽能風吸式殺蟲燈就是利用太陽能供電,通過風吸原理將害蟲吸入并消滅的裝置。它無需外接電源,節能環保,且操作簡便。在茶園中,茶樹葉片嫩綠,香氣四溢,卻也容易吸引各種害蟲。太陽能風吸式殺蟲燈的懸掛,如同為茶園撐起了一把保護傘。夜晚,燈光亮起,害蟲被光源吸引,隨風吸入燈內,有效降低了害蟲數量,保護了茶樹的健康生長。茶葉因此更加鮮綠,品質得到了顯著提升。···
WX-NQ12農業氣象綜合監測站通過實時監測農田環境中的關鍵氣象要素,如溫度、濕度、光照強度、風速、風向等,為種植者提供了精準的氣象數據。這些數據有助于種植者更加科學地制定種植計劃,合理安排農事活動,從而有效提升種植效率。例如,在適宜的溫度和濕度條件下進行播種和灌溉,可以顯著提高種子的發芽率和作物的生長速度。···